S型玻璃鋼離心泵-江蘇荆州亨信汽车制造有限公司
<ol id="lwuv_vtp7q_gavc2v0"><dl id="coqi_gbo2_tew13"></dl></ol>

        荆州亨信汽车制造有限公司

        産品展示



        +
        • 5(1699490990867).jpg
        • 1(1699490990923).jpg
        • 2(1699490990853).jpg
        • 3(1699490990924).jpg
        • 4(1699490990942).jpg

        S型玻璃鋼離心泵

        生産廠家:江蘇荆州亨信汽车制造有限公司
        主要材質:玻璃鋼
        流量範圍:2-200m3/h
        揚程範圍:5-60m
        功率範圍:0.75-37kw
        應用領域:化工、冶煉、稀土、農藥、染料、醫藥、造紙、電鍍、電池🥑️隔闆等
        适用介質:各種非氧化性酸 (鹽酸、硫酸、甲酸、醋酸、丁酸💯、磷酸🧑🏽‍❤️‍💋‍🧑🏻)等鹽類溶液及多種有機溶劑等

        訂購熱線: 0519-    

        訂購熱線:

        0519-


        産品描述

         

        産品概述

        S型玻璃鋼耐腐離心泵,接觸液體的過流部件均采用改性酚醛玻璃纖維材料經高溫模壓而成,具有質輕~,高強,不變形,耐高溫,耐腐蝕,保養維修方便等優良性能。軸封采用WB2型外裝式F4波紋機械密封,密封可靠,使用壽命長。産品廣泛用于石化、冶煉、染料、印染、農藥、制藥、稀土、水處理,電鍍、電池隔闆等行業,輸送溫度不高👱🏼‍♂️于100℃的各種非氧化性酸 (鹽酸、硫酸、甲酸、醋酸、丁酸🏃🏻‍♀️、磷酸)等鹽類溶液及多種👿有機溶劑都有良好的耐蝕性,不耐強堿。

         

        型号說明

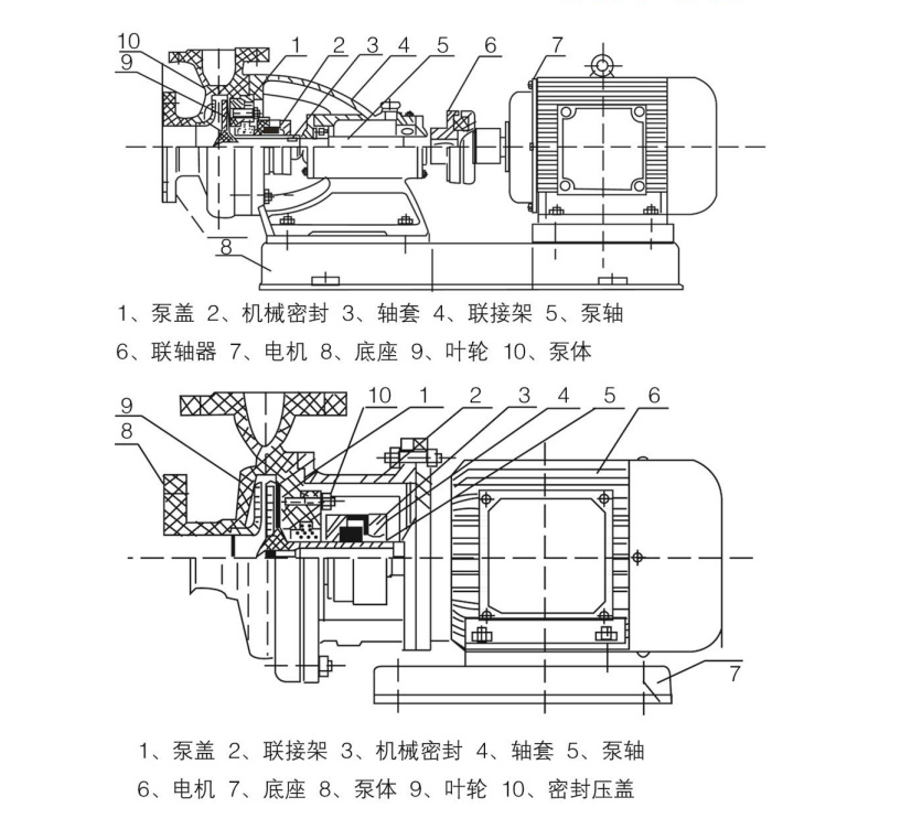
        結構示意圖

        型号及參數

        型   号

        進出口直徑(mm)

        流量 

        (m³/h)

        揚程

        (m)

        電機功率

        (kw)

        轉速

        (r/min)

        效率

        (%)

        汽蝕餘量

        (m)

        進口

        出口

        S25-25-15

        25

        25

        3.2

        15

        0.75

        2900

        41

        3

        S25-25-15

        25

        25

        10

        10

        0.75

        2900

        41

        3

        S25-25-15

        25

        25

        2

        18

        0.75

        2900

        41

        3

        S25-25-25

        25

        25

        3.2

        25

        1.5

        2900

        45

        3

        S25-25-28

        25

        25

        2

        28

        1.5

        2900

        45

        3

        S40-32-18

        40

        32

        10

        18

        1.1

        2900

        50

        3

        S40-32-20

        40

        32

        6.3

        20

        1.1

        2900

        50

        3

        S40-32-32

        40

        32

        6.3

        32

        2.2

        2900

        45

        3

        S50-40-20

        50

        40

        12.5

        20

        2.2

        2900

        53

        3

        S50-32-32

        50

        32

        12.5

        32

        3

        2900

        51

        3

        S50-32-40

        50

        32

        12.5

        40

        3

        2900

        51

        3

        S65-50-20

        65

        50

        25

        20

        3

        2900

        64

        3

        S65-50-32

        65

        50

        25

        32

        5.5

        2900

        60

        3

        S65-50-40

        65

        50

        25

        40

        5.5

        2900

        60

        3

        S80-65-30

        80

        65

        50

        30

        5.5

        2900

        69

        4

        S80-65-32

        80

        65

        50

        32

        7.5

        2900

        69

        4

        S80-65-40

        80

        65

        50

        40

        11

        2900

        69

        4

        S80-65-50

        80

        65

        50

        50

        15

        2900

        69

        4

        S80-65-60

        80

        65

        25

        60

        18.5

        2900

        69

        4

        S100-80-20

        100

        80

        100

        20

        11

        2900

        72

        4

        S100-80-32

        100

        80

        100

        32

        15

        2900

        71

        4

        S100-80-40

        100

        80

        100

        40

        18.5

        2900

        75

        4

        S100-80-50

        100

        80

        100

        50

        30

        2900

        73

        5

        S125-100-20

        125

        100

        150

        20

        18.5

        2900

        71

        5

        S125-100-28

        125

        100

        160

        28

        22

        2900

        71

        5

        S125-100-32

        125

        100

        180

        32

        30

        2900

        72

        5

        S125-100-40

        125

        100

        180

        40

        37

        2900

        74

        5

        S150-125-20

        150

        125

        200

        20

        22

        1450

        75

        5

         

        産品實拍

         

        品質保障

        産品詢價

        <ol id="lwuv_vtp7q_gavc2v0"><dl id="coqi_gbo2_tew13"></dl></ol>